Ausgänge:

Kommunikation:

1 CAN 2.0B-channel

 

Eingänge:

 

 

Attributes of the 0555-024-Family:

24_pin_ecu

ECM-0S12-024-0502-C/F  Motor control unit family

blue_glossy_button
Stecker ECM24
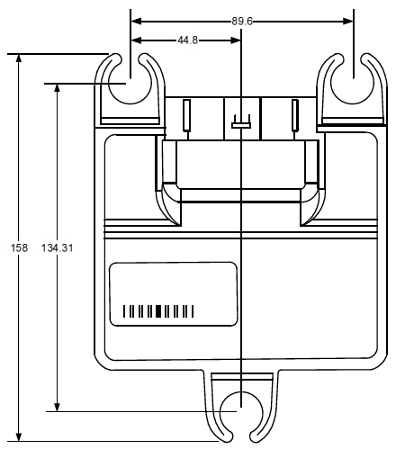
Gehäuse24

Alle Maßangaben in mm

Download

Datasheet

3E Banner 6

ECM 24pin