ECM-0S12-070  Motorsteuergeräte-Familie, Kalibrierbar / Flash

Eigenschaften der 0S12-070-Familie:

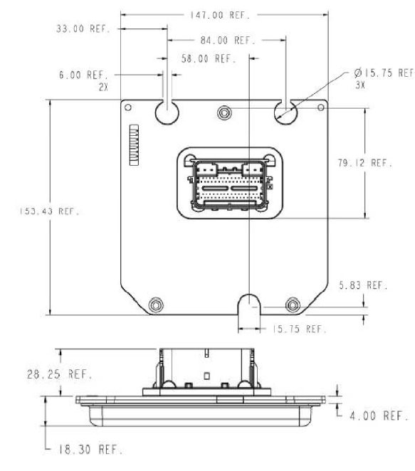
ECM-0S12-070
blue_glossy_button

Ausgänge:

Kommunikation:

Eingänge:

Gehäuse70

Download

Datasheet

3E Banner 6

ECM 70pin